- British Pharmacopoeia Volume V
- Appendices
Appendix IX C. Determination of Water |
Use Method IA unless otherwise directed.
The semi-micro determination of water is based upon the quantitative reaction of water with sulfur dioxide and iodine in a suitable anhydrous medium in the presence of a base with sufficient buffering capacity.
Apparatus The apparatus consists of a titration vessel with:
- — 2 identical platinum electrodes;
- — tight inlets for introduction of solvent and titrant;
- — an inlet for introduction of air via a desiccant;
- — a sample inlet fitted with a stopper or, for liquids, a septum.
Inlet systems for introduction of dry nitrogen or for aspiration of solvents may also be fitted.
The titration is carried out according to the instrument supplier's instructions. Care is taken throughout the determination to avoid exposure of reagents and solvents to atmospheric moisture. The end-point is determined using 2 identical indicator electrodes connected to an electrical source that maintains between the electrodes either a constant current or a constant voltage. Where direct titration is used (method A), addition of titrant causes either a decrease in voltage where constant current is maintained or an increase in current where constant voltage is maintained, until the end-point is reached. Instruments with automatic end-point detection are commonly used.
Standardisation To the titration vessel, add methanol R, dried if necessary, or the solvent recommended by the supplier of the titrant. Where applicable for the apparatus used, eliminate residual water from the measurement cell or carry out a pre-titration. Introduce a suitable amount of water in an appropriate form (water R or a certified reference material) and carry out the titration, stirring for the necessary time. The water equivalent is not less than 80 per cent of that indicated by the supplier. Standardise the titrant before the first use and at suitable intervals thereafter.
Unless otherwise prescribed, use Method IA.
Method IA Introduce into the titration vessel methanol R, or the solvent indicated in the monograph or recommended by the supplier of the titrant. Where applicable for the apparatus used, eliminate residual water from the measurement cell or carry out a pre-titration. Introduce the substance to be examined rapidly and carry out the titration, stirring for the necessary extraction time.
Method IB Introduce into the titration vessel methanol R, or the solvent indicated in the monograph or recommended by the supplier of the titrant. Where applicable for the apparatus used, eliminate residual water from the measurement cell or carry out a pre-titration. Introduce the substance to be examined rapidly and in a suitable state of division. Add an accurately measured volume of the titrant, sufficient to give an excess of about 1 mL or the prescribed volume. Allow to stand protected from light for 1 min or the prescribed time, with stirring. Titrate the excess of reagent using methanol R or the prescribed solvent, containing an accurately known quantity of water.
Suitability The accuracy of the determination with the chosen titrant must be verified for each substance to be examined. The following procedure, given as an example, is suitable for samples containing 2.5-25 mg of water.
The water content of the substance to be examined is determined using the reagent/solvent system chosen. Thereafter, sequential known amounts of water R are added in an appropriate form (at least 5 additions) and the cumulative water content determined after each addition. Calculate the percentage recovery (r) at each point using the following expression:
![bp2012_v5_47_09_[appendix_ix_c] 2512watersemimicrodetermination_1_2012_70_eq.png](bp_images/bp2012_v5_47_09_[appendix_ix_c]/2512watersemimicrodetermination_1_2012_70_eq.png)
W1 |
= |
amount of water added, in milligrams; |
W2 |
= |
amount of water found, in milligrams. |
Calculate the regression line of the cumulative water determined against the water added. Calculate the slope (b), the intercept with the y-axis (a) and the intercept of the extrapolated calibration line with the x-axis (d).
Calculate the percentage mean recovery (r). Calculate the percentage errors (e1 and e2) using the following expressions:
![bp2012_v5_47_09_[appendix_ix_c] 2512watersemimicrodetermination_2_2012_70_eq.png](bp_images/bp2012_v5_47_09_[appendix_ix_c]/2512watersemimicrodetermination_2_2012_70_eq.png)
a |
= |
the y-axis intercept, in milligrams of water; |
d |
= |
the x-axis intercept, in milligrams of water; |
M |
= |
water content of the substance, in milligrams of water. |
The reagent/solvent system is considered to be acceptable if:
- — |e1| and |e2| are not greater than 2.5 per cent;
- — b is between 0.975 and 1.025 (deviation ± 2.5 per cent);
- —
is between 97.5 per cent and 102.5 per cent
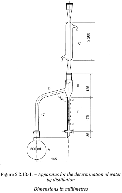
The apparatus (see Figure 2.2.13.-1) consists of a glass flask (A) connected by a tube (D) to a cylindrical tube (B) fitted with a graduated receiving tube (E) and reflux condenser (C). The receiving tube (E) is graduated in 0.1 mL. The source of heat is preferably an electric heater with rheostat control or an oil bath. The upper portion of the flask and the connecting tube may be insulated.
Method Clean the receiving tube and the condenser of the apparatus, thoroughly rinse with water, and dry.
Introduce 200 mL of toluene R and about 2 mL of water R into the dry flask. Distil for 2 h, then allow to cool for about 30 min and read the water volume to the nearest 0.05 mL. Place in the flask a quantity of the substance, weighed with an accuracy of 1 per cent, expected to give about 2 mL to 3 mL of water. If the substance has a pasty consistency, weigh it in a boat of metal foil. Add a few pieces of porous material and heat the flask gently for 15 min. When the toluene begins to boil, distil at the rate of about two drops per second until most of the water has distilled over, then increase the rate of distillation to about four drops per second. When the water has all distilled over, rinse the inside of the condenser tube with toluene R. Continue the distillation for 5 min, remove the heat, allow the receiving tube to cool to room temperature and dislodge any droplets of water which adhere to the walls of the receiving tube. When the water and toluene have completely separated, read the volume of water and calculate the content present in the substance as millilitres per kilogram, using the formula:
![bp2012_v5_47_09_[appendix_ix_c] 2213determinationofwaterbydistillation_2_2012_70_eq.png](bp_images/bp2012_v5_47_09_[appendix_ix_c]/2213determinationofwaterbydistillation_2_2012_70_eq.png)
m |
= |
the mass in grams of the substance to be examined, |
n1 |
= |
the number of millilitres of water obtained in the first distillation, |
n2 |
= |
the total number of millilitres of water obtained in the 2 distillations. |
![bp2012_v5_47_09_[appendix_ix_c] 2213determinationofwaterbydistillation_1_2012_70_fig.png](bp_images/bp2012_v5_47_09_[appendix_ix_c]/2213determinationofwaterbydistillation_1_2012_70_fig.png)
Principle The coulometric titration of water is based upon the quantitative reaction of water with sulfur dioxide and iodine in an anhydrous medium in the presence of a base with sufficient buffering capacity. In contrast to the volumetric method described under (2.5.12), iodine is produced electrochemically in the reaction cell by oxidation of iodide. The iodine produced at the anode reacts immediately with the water and the sulfur dioxide contained in the reaction cell. The amount of water in the substance is directly proportional to the quantity of electricity up until the titration end-point. When all of the water in the cell has been consumed, the end-point is reached and thus an excess of iodine appears. 1 mole of iodine corresponds to 1 mole of water, a quantity of electricity of 10.71 C corresponds to 1 mg of water.
Moisture is eliminated from the system by pre-electrolysis. Individual determinations can be carried out successively in the same reagent solution, under the following conditions:
- — each component of the test mixture is compatible with the other components,
- — no other reactions take place,
- — the volume and the water capacity of the electrolyte reagent are sufficient.
Coulometric titration is restricted to the quantitative determination of small amounts of water, a range of 10 µg up to 10 mg of water is recommended.
Accuracy and precision of the method are predominantly governed by the extent to which atmospheric moisture is excluded from the system. Control of the system must be monitored by measuring the amount of baseline drift.
Apparatus The apparatus consists of a reaction cell, electrodes and magnetic stirrer. The reaction cell consists of a large anode compartment and a smaller cathode compartment. Depending on the design of the electrode, both compartments can be separated by a diaphragm. Each compartment contains a platinum electrode. Liquid or solubilised samples are introduced through a septum, using a syringe. Alternatively, an evaporation technique may be used in which the sample is heated in a tube (oven) and the water is evaporated and carried into the cell by means of a stream of dry inert gas. The introduction of solid samples into the cell should in general be avoided. However, if it has to be done it is effected through a sealable port; appropriate precautions must be taken to avoid the introduction of moisture from air, such as working in a glove box in an atmosphere of dry inert gas. The analytical procedure is controlled by a suitable electronic device, which also displays the results.
Method Fill the compartments of the reaction cell with electrolyte reagent for the micro determination of water R according to the manufacturer's instructions and perform the coulometric titration to a stable end-point. Introduce the prescribed amount of the substance to be examined into the reaction cell, stir for 30 s, if not otherwise indicated in the monograph, and titrate again to a stable end-point. In case an oven is used, the prescribed sample amount is introduced into the tube and heated. After evaporation of the water from the sample into the titration cell, the titration is started. Read the value from the instrument's output and calculate if necessary the percentage or amount of water that is present in the substance. When appropriate to the type of sample and the sample preparation, perform a blank titration.
Verification of the accuracy Between two successive sample titrations, introduce an accurately weighed amount of water in the same order of magnitude as the amount of water in the sample, either as water R or in the form of standard solution for the micro determination of water R, and perform the coulometric titration. The recovery rate is within the range from 97.5 per cent to 102.5 per cent for an addition of 1000 µg of H2O and in the range from 90.0 per cent to 110.0 per cent for the addition of 100 µg of H2O.