- British Pharmacopoeia Volume V
- Appendices
Appendix XVII F. Measurement of Consistency and Texture Analysis |
(Ph. Eur. method 2.9.9)
This test is intended to measure, under determined and validated conditions, the penetration of an object into the product to be examined in a container with a specified shape and size.
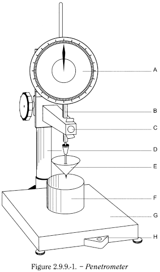
The apparatus consists of a penetrometer made up of a stand and a penetrating object. A suitable apparatus is shown in Figure 2.9.9.-1.
![bp2012_v5_47_17_[appendix_xvii_f] 299measurementofconsistencybypenetrometry_1_2012_70_fig.png](bp_images/bp2012_v5_47_17_[appendix_xvii_f]/299measurementofconsistencybypenetrometry_1_2012_70_fig.png)
A. Scale showing the depth of penetration, graduated in tenths of millimetres.
B. Vertical shaft to maintain and guide the penetrating object.
C. Device to retain and to release the penetrating object automatically and for a constant time.
D. Device to ensure that the penetrating object is vertical and that the base is horizontal.
E. Penetrating object (see Figures 2.9.9.-2 and 3).
F. Container.
G. Horizontal base.
H. Control for the horizontal base.
The stand is made up of:
- — a vertical shaft to maintain and guide the penetrating object;
- — a horizontal base;
- — a device to ensure that the penetrating object is vertical;
- — a device to check that the base is horizontal;
- — a device to retain and release the penetrating object;
- — a scale showing the depth of penetration, graduated in tenths of a millimetre.
The penetrating object, made of a suitable material, has a smooth surface, and is characterised by its shape, size and mass (m).
Suitable penetrating objects are shown in Figures 2.9.9.-2 and 2.9.9.-3.
![bp2012_v5_47_17_[appendix_xvii_f] 299measurementofconsistencybypenetrometry_2_2012_70_fig.png](bp_images/bp2012_v5_47_17_[appendix_xvii_f]/299measurementofconsistencybypenetrometry_2_2012_70_fig.png)
![bp2012_v5_47_17_[appendix_xvii_f] 299measurementofconsistencybypenetrometry_3_2012_70_fig.png](bp_images/bp2012_v5_47_17_[appendix_xvii_f]/299measurementofconsistencybypenetrometry_3_2012_70_fig.png)
Prepare the test samples according to one of the following procedures.
A. Carefully and completely fill 3 containers, without forming air bubbles. Level if necessary to obtain a flat surface. Store the samples at 25 ± 0.5 °C for 24 h, unless otherwise prescribed.
B. Store 3 samples at 25 ± 0.5 °C for 24 h, unless otherwise prescribed. Apply a suitable shear to the samples for 5 min. Carefully and completely fill 3 containers, without forming air bubbles, and level if necessary to obtain a flat surface.
C. Melt 3 samples and carefully and completely fill 3 containers, without forming air bubbles. Store the samples at 25 ± 0.5 °C for 24 h, unless otherwise prescribed.
Determination of penetration Place the test sample on the base of the penetrometer. Verify that its surface is perpendicular to the vertical axis of the penetrating object. Bring the temperature of the penetrating object to 25 ± 0.5 °C and then adjust its position such that its tip just touches the surface of the sample. Release the penetrating object and hold it free for 5 s. Clamp the penetrating object and measure the depth of penetration. Repeat the test with the 2 remaining containers.
The penetration is expressed in tenths of a millimetre as the arithmetic mean of the 3 measurements. If any of the individual results differ from the mean by more than 3 per cent, repeat the test and express the results of the 6 measurements as the mean and the relative standard deviation.
This test determines, under defined conditions, the force required to penetrate a semi-solid or gel sample.
This test applies to samples consisting of a semi solid or gel-like mass which retains its form. It is not applicable to suspensions consisting of fine solid particles in a liquid.
Apparatus A suitable texture analyser, (see Fig. 17F-1) consisting of:
- — a suitable platform or device to hold the sample being examined,
- — a mobile arm that can be moved in a vertical direction towards or away from the sample,
- — a probe attachment, which may be of various shapes such as a platen, a cylinder, a cone, a needle, a sphere or a wire,
- — a load cell capable of measuring the load or tensile forces experienced by the probe as the mobile arm moves up or down.
Calibration The apparatus is calibrated using a suitable certified weight.
Method Check that the apparatus is vertical.
Place the sample being examined in a suitable holder as specified in the monograph. Programme the apparatus in accordance with the manufacturer's specifications to move the probe up or down at a defined speed or force as specified in the monograph. Measure the forces experienced by the probe through the sample.
The maximum peak force (in g) required to penetrate the sample is measured by the load cell.
Carry out each measurement six times.
![bp2012_v5_47_17_[appendix_xvii_f] appxvii_textureanalysis_1_bp2007_di.png](bp_images/bp2012_v5_47_17_[appendix_xvii_f]/appxvii_textureanalysis_1_bp2007_di.png)
Fig. 17F-1 Texture Analyser