• British Pharmacopoeia Volume V
  • Appendices

Appendix VII Limit Tests

(No Ph. Eur. method)
Nessler Cylinders

Where the use of Nessler cylinders is prescribed in a test of the Pharmacopoeia, Nessler cylinders complying with the following requirements should be used.

Nessler cylinders comply with British Standard 612:1966 (Specification for Nessler cylinders). They are of clear glass with a nominal capacity of 50 mL; the overall height is about 15 cm, the external height to the 50-mL mark 11.0 to 12.4 cm, the thickness of the wall 1.0 to 1.5 mm and the thickness of the base 1.0 to 3.0 mm. The external heights to the 50-mL mark of cylinders used for a test must not differ by more than 1 mm.

Tubes for Comparative Tests
(Ph. Eur. method 2.1.5)

Tubes used for comparative tests are matched tubes of colourless glass with a uniform internal diameter. The base is transparent and flat.

A column of the liquid is examined down the vertical axis of the tube against a white background, or if necessary, against a black background. The examination is carried out in diffused light.

It is assumed that tubes with an internal diameter of 16 mm will be used. Tubes with a larger internal diameter may be used instead but the volume of liquid examined must then be increased so that the depth of liquid in the tubes is not less than where the prescribed volume of liquid and tubes 16 mm in internal diameter are used.

Limit Test for Aluminium
(Ph. Eur. method 2.4.17)

Place the prescribed solution in a separating funnel and shake with 2 quantities, each of 20 mL, and then with one 10 mL quantity of a 5 g/L solution of hydroxyquinoline R in chloroform R. Dilute the combined chloroform solutions to 50.0 mL with chloroform R (test solution).

Prepare a standard in the same manner using the prescribed reference solution.

Prepare a blank in the same manner using the prescribed blank solution.

Measure the intensity of the fluorescence (2.2.21) of the test solution (I1), of the standard (I2) and of the blank (I3) using an excitant beam at 392 nm and a secondary filter with a transmission band centred on 518 nm or a monochromator set to transmit at this wavelength.

The fluorescence (I1- I3) of the test solution is not greater than that of the standard (I2- I3).

Limit Test for Ammonium
(Ph. Eur. method 2.4.1)

Unless otherwise prescribed, use method A.

METHOD A

Dissolve the prescribed quantity of the substance to be examined in 14 mL of water R in a test-tube, make alkaline if necessary by the addition of dilute sodium hydroxide solution R and dilute to 15 mL with water R. To the solution add 0.3 mL of alkaline potassium tetraiodomercurate solution R. Prepare a standard by mixing 10 mL of ammonium standard solution (1 ppm NH4) R with 5 mL of water R and 0.3 mL of alkaline potassium tetraiodomercurate solution R. Stopper the test-tubes.

After 5 min, any yellow colour in the test solution is not more intense than that in the standard.

METHOD B

In a 25 mL jar fitted with a cap, place the prescribed quantity of the finely powdered substance to be examined and dissolve or suspend in 1 mL of water R. Add 0.30 g of heavy magnesium oxide R. Close immediately after placing a piece of silver manganese paper R 5 mm square, wetted with a few drops of water R, under the polyethylene cap. Swirl, avoiding projections of liquid, and allow to stand at 40 °C for 30 min. If the silver manganese paper shows a grey colour, it is not more intense than that of a standard prepared at the same time and in the same manner using the prescribed volume of ammonium standard solution (1 ppm NH4) R, 1 mL of water R and 0.30 g of heavy magnesium oxide R.

Limit Test for Arsenic
(Ph. Eur. method 2.4.2)
METHOD A

The apparatus (see Figure 2.4.2.-1) consists of a 100 mL conical flask closed with a ground-glass stopper through which passes a glass tube about 200 mm long and of internal diameter 5 mm. The lower part of the tube is drawn to an internal diameter of 1.0 mm, and 15 mm from its tip is a lateral orifice 2 mm to 3 mm in diameter. When the tube is in position in the stopper, the lateral orifice should be at least 3 mm below the lower surface of the stopper. The upper end of the tube has a perfectly flat, ground surface at right angles to the axis of the tube. A second glass tube of the same internal diameter and 30 mm long, with a similar flat ground surface, is placed in contact with the first, and is held in position by two spiral springs. Into the lower tube insert 50 mg to 60 mg of lead acetate cotton R, loosely packed, or a small plug of cotton and a rolled piece of lead acetate paper R weighing 50 mg to 60 mg. Between the flat surfaces of the tubes place a disc or a small square of mercuric bromide paper R large enough to cover the orifice of the tube (15 mm × 15 mm).

In the conical flask dissolve the prescribed quantity of the substance to be examined in 25 mL of water R, or in the case of a solution adjust the prescribed volume to 25 mL with water R. Add 15 mL of hydrochloric acid R, 0.1 mL of stannous chloride solution R and 5 mL of potassium iodide solution R, allow to stand for 15 min and introduce 5 g of activated zinc R. Assemble the two parts of the apparatus immediately and immerse the flask in a bath of water at a temperature such that a uniform evolution of gas is maintained. Prepare a standard in the same manner, using 1 mL of arsenic standard solution (1 ppm As) R, diluted to 25 mL with water R.

After not less than 2 h the stain produced on the mercuric bromide paper in the test is not more intense than that in the standard.

METHOD B

Introduce the prescribed quantity of the substance to be examined into a test-tube containing 4 mL of hydrochloric acid R and about 5 mg of potassium iodide R and add 3 mL of hypophosphorous reagent R. Heat the mixture on a water-bath for 15 min, shaking occasionally. Prepare a standard in the same manner, using 0.5 mL of arsenic standard solution (10 ppm As) R.

After heating on the water-bath, any colour in the test solution is not more intense than that in the standard.

bp2012_v5_47_07_[appendix_vii]_revised_texts_ep7-3 242arsenic_1_2012_70_fig.png


Limit Test for Calcium
(Ph. Eur. method 2.4.3)

All solutions used for this test should be prepared with distilled water R.

To 0.2 mL of alcoholic calcium standard solution (100 ppm Ca) R, add 1 mL of ammonium oxalate solution R. After 1 min, add a mixture of 1 mL of dilute acetic acid R and 15 mL of a solution containing the prescribed quantity of the substance to be examined and shake. Prepare a standard in the same manner using a mixture of 10 mL of aqueous calcium standard solution (10 ppm Ca) R, 1 mL of dilute acetic acid R and 5 mL of distilled water R.

After 15 min, any opalescence in the test solution is not more intense than that in the standard.

Limit Test for Chlorides
(Ph. Eur. method 2.4.4)

To 15 mL of the prescribed solution add 1 mL of dilute nitric acid R and pour the mixture as a single addition into a test-tube containing 1 mL of silver nitrate solution R2. Prepare a standard in the same manner using 10 mL of chloride standard solution (5 ppm Cl) R and 5 mL of water R. Examine the tubes laterally against a black background.

After standing for 5 min protected from light, any opalescence in the test solution is not more intense than that in the standard.

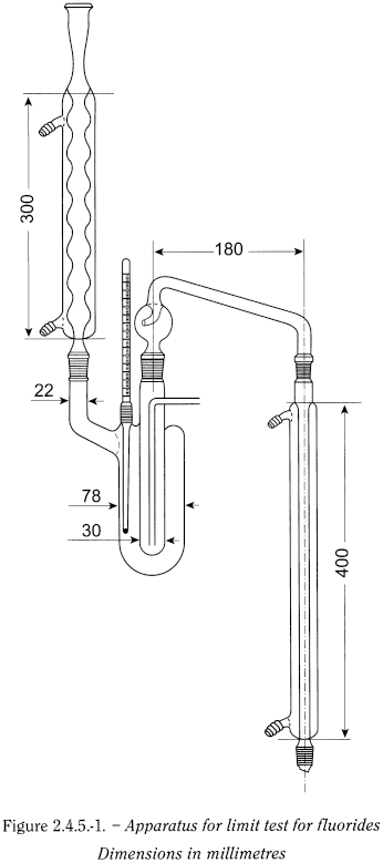
Limit Test for Fluorides
(Ph. Eur. method 2.4.5)
bp2012_v5_47_07_[appendix_vii]_revised_texts_ep7-3 245fluorides_1_2012_70_fig.png


Introduce into the inner tube of the apparatus (see Figure 2.4.5.-1) the prescribed quantity of the substance to be examined, 0.1 g of acid-washed sand R and 20 mL of a mixture of equal volumes of sulfuric acid R and water R. Heat the jacket containing tetrachloroethane R maintained at its boiling point (146 °C). Heat the steam generator and distil, collecting the distillate in a 100 mL volumetric flask containing 0.3 mL of 0.1 M sodium hydroxide and 0.1 mL of phenolphthalein solution R. Maintain a constant volume (20 mL) in the tube during distillation and ensure that the distillate remains alkaline, adding 0.1 M sodium hydroxide if necessary. Dilute the distillate to 100 mL with water R (test solution). Prepare a standard in the same manner by distillation, using 5 mL of fluoride standard solution (10 ppm F) R instead of the substance to be examined. Into two glass-stoppered cylinders introduce 20 mL of the test solution and 20 mL of the standard and 5 mL of aminomethylalizarindiacetic acid reagent R.

After 20 min, any blue colour in the test solution (originally red) is not more intense than that in the standard.

Limit Test for Heavy Metals
(Ph. Eur. method 2.4.8)

The methods described below require the use of thioacetamide reagent R. As an alternative, sodium sulfide solution R1 (0.1 mL) is usually suitable. Since tests prescribed in monographs have been developed using thioacetamide reagent R, if sodium sulfide solution R1 is used instead, it is necessary to include also for methods A, B and H a monitor solution, prepared from the quantity of the substance to be examined prescribed for the test, to which has been added the volume of lead standard solution prescribed for preparation of the reference solution. The test is invalid if the monitor solution is not at least as intense as the reference solution.

METHOD A

Test solution 12 mL of the prescribed aqueous solution of the substance to be examined.

Reference solution (standard) A mixture of 10 mL of lead standard solution (1 ppm Pb) R or lead standard solution (2 ppm Pb) R, as prescribed, and 2 mL of the prescribed aqueous solution of the substance to be examined.

Blank solution A mixture of 10 mL of water R and 2 mL of the prescribed aqueous solution of the substance to be examined.

To each solution, add 2 mL of buffer solution pH 3.5 R. Mix and add to 1.2 mL of thioacetamide reagent R. Mix immediately. Examine the solutions after 2 min.

System suitability The reference solution shows a slight brown colour compared to the blank solution.

Result Any brown colour in the test solution is not more intense than that in the reference solution.

If the result is difficult to judge, filter the solutions through a suitable membrane filter (nominal pore size 0.45 µm). Carry out the filtration slowly and uniformly, applying moderate and constant pressure to the piston. Compare the spots on the filters obtained with the different solutions.

METHOD B

Test solution 12 mL of the prescribed solution of the substance to be examined prepared using an organic solvent containing a minimum percentage of water (for example, dioxan containing 15 per cent of water or acetone containing 15 per cent of water).

Reference solution (standard) A mixture of 10 mL of lead standard solution (1 or 2 ppm Pb), as prescribed, and 2 mL of the prescribed solution of the substance to be examined in an organic solvent. Prepare the lead standard solution (1 or 2 ppm Pb) by dilution of lead standard solution (100 ppm Pb) R with the solvent used for the substance to be examined.

Blank solution A mixture of 10 mL of the solvent used for the substance to be examined and 2 mL of the prescribed solution of the substance to be examined in an organic solvent.

To each solution, add 2 mL of buffer solution pH 3.5 R. Mix and add to 1.2 mL of thioacetamide reagent R. Mix immediately. Examine the solutions after 2 min.

System suitability The reference solution shows a slight brown colour compared to the blank solution.

Result Any brown colour in the test solution is not more intense than that in the reference solution.

If the result is difficult to judge, filter the solutions through a suitable membrane filter (nominal pore size 0.45 µm). Carry out the filtration slowly and uniformly, applying moderate and constant pressure to the piston. Compare the spots on the filters obtained with the different solutions.

METHOD C

Test solution Place the prescribed quantity (not more than 2 g) of the substance to be examined in a silica crucible with 4 mL of a 250 g/L solution of magnesium sulfate R in dilute sulfuric acid R. Mix using a fine glass rod. Heat cautiously. If the mixture is liquid, evaporate gently to dryness on a water-bath. Progressively heat to ignition and continue heating until an almost white or at most greyish residue is obtained. Carry out the ignition at a temperature not exceeding 800 °C. Allow to cool. Moisten the residue with a few drops of dilute sulfuric acid R. Evaporate, ignite again and allow to cool. The total period of ignition must not exceed 2 h. Take up the residue in 2 quantities, each of 5 mL, of dilute hydrochloric acid R. Add 0.1 mL of phenolphthalein solution R, then concentrated ammonia R until a pink colour is obtained. Cool, add glacial acetic acid R until the solution is decolorised and add 0.5 mL in excess. Filter if necessary and wash the filter. Dilute to 20 mL with water R.

Reference solution (standard) Prepare as described for the test solution, using the prescribed volume of lead standard solution (10 ppm Pb) R instead of the substance to be examined. To 10 mL of the solution obtained add 2 mL of the test solution.

Monitor solution Prepare as described for the test solution, adding to the substance to be examined the volume of lead standard solution (10 ppm Pb) R prescribed for preparation of the reference solution. To 10 mL of the solution obtained add 2 mL of the test solution.

Blank solution A mixture of 10 mL of water R and 2 mL of the test solution.

To 12 mL of each solution, add 2 mL of buffer solution pH 3.5 R. Mix and add to 1.2 mL of thioacetamide reagent R. Mix immediately. Examine the solutions after 2 min.

System suitability

  • — the reference solution shows a slight brown colour compared to the blank solution,
  • — the monitor solution is at least as intense as the reference solution.

Result Any brown colour in the test solution is not more intense than that in the reference solution.

If the result is difficult to judge, filter the solutions through a suitable membrane filter (nominal pore size 0.45 µm). Carry out the filtration slowly and uniformly, applying moderate and constant pressure to the piston. Compare the spots on the filters obtained with the different solutions.

METHOD D

Test solution In a silica crucible, mix thoroughly the prescribed quantity of the substance to be examined with 0.5 g of magnesium oxide R1. Ignite to dull redness until a homogeneous white or greyish-white mass is obtained. If after 30 min of ignition the mixture remains coloured, allow to cool, mix using a fine glass rod and repeat the ignition. If necessary repeat the operation. Heat at 800 °C for about 1 h. Take up the residue in 2 quantities, each of 5 mL, of a mixture of equal volumes of hydrochloric acid R1 and water R. Add 0.1 mL of phenolphthalein solution R and then concentrated ammonia R until a pink colour is obtained. Cool, add glacial acetic acid R until the solution is decolorised and add 0.5 mL in excess. Filter if necessary and wash the filter. Dilute to 20 mL with water R.

Reference solution (standard) Prepare as described for the test solution using the prescribed volume of lead standard solution (10 ppm Pb) R instead of the substance to be examined and drying in an oven at 100-105 °C. To 10 mL of the solution obtained add 2 mL of the test solution.

Monitor solution Prepare as described for the test solution, adding to the substance to be examined the volume of lead standard solution (10 ppm Pb) R prescribed for preparation of the reference solution and drying in an oven at 100-105 °C. To 10 mL of the solution obtained add 2 mL of the test solution.

Blank solution A mixture of 10 mL of water R and 2 mL of the test solution.

To 12 mL of each solution, add 2 mL of buffer solution pH 3.5 R. Mix and add to 1.2 mL of thioacetamide reagent R. Mix immediately. Examine the solutions after 2 min.

System suitability 

  • — the reference solution shows a slight brown colour compared to the blank solution,
  • — the monitor solution is at least as intense as the reference solution.

Result Any brown colour in the test solution is not more intense than that in the reference solution.

If the result is difficult to judge, filter the solutions through a suitable membrane filter (nominal pore size 0.45 µm). Carry out the filtration slowly and uniformly, applying moderate and constant pressure to the piston. Compare the spots on the filters obtained with the different solutions.

METHOD E

Test solution Dissolve the prescribed quantity of the substance to be examined in 30 mL of water R or the prescribed volume.

bp2012_v5_47_07_[appendix_vii]_revised_texts_ep7-3 248heavymetals_1_2012_70_fig.png


Reference solution (standard) Unless otherwise prescribed, dilute the prescribed volume of lead standard solution (1 ppm Pb) R to the same volume as the test solution.

Prepare the filtration apparatus by adapting the barrel of a 50 mL syringe without its piston to a support containing, on the plate, a membrane filter (nominal pore size 3 µm) and above it a prefilter (Figure 2.4.8.-1).

Transfer the test solution into the syringe barrel, put the piston in place and then apply an even pressure on it until the whole of the liquid has been filtered. In opening the support and removing the prefilter, check that the membrane filter remains uncontaminated with impurities. If this is not the case replace it with another membrane filter and repeat the operation under the same conditions.

To the prefiltrate or to the prescribed volume of the prefiltrate add 2 mL of buffer solution pH 3.5 R. Mix and add to 1.2 mL of thioacetamide reagent R. Mix immediately and allow to stand for 10 min and again filter as described above, but inverting the order of the filters, the liquid passing first through the membrane filter before passing through the prefilter (Figure 2.4.8.-1). The filtration must be carried out slowly and uniformly by applying moderate and constant pressure to the piston of the syringe. After complete filtration, open the support, remove the membrane filter, and dry using filter paper.

In parallel, treat the reference solution in the same manner as the test solution.

Result The colour of the spot obtained with the test solution is not more intense than that obtained with the reference solution.

METHOD F

Test solution Place the prescribed quantity or volume of the substance to be examined in a clean, dry, 100 mL long-necked combustion flask (a 300 mL flask may be used if the reaction foams excessively). Clamp the flask at an angle of 45°. If the substance to be examined is a solid, add a sufficient volume of a mixture of 8 mL of sulfuric acid R and 10 mL of nitric acid R to moisten the substance thoroughly; if the substance to be examined is a liquid, add a few millilitres of a mixture of 8 mL of sulfuric acid R and 10 mL of nitric acid R. Warm gently until the reaction commences, allow the reaction to subside and add additional portions of the same acid mixture, heating after each addition, until a total of 18 mL of the acid mixture has been added. Increase the amount of heat and boil gently until the solution darkens. Cool, add 2 mL of nitric acid R and heat again until the solution darkens. Continue the heating, followed by the addition of nitric acid R until no further darkening occurs, then heat strongly until dense, white fumes are produced. Cool, cautiously add 5 mL of water R, boil gently until dense, white fumes are produced and continue heating to reduce to 2-3 mL. Cool, cautiously add 5 mL of water R and examine the colour of the solution. If the colour is yellow, cautiously add 1 mL of strong hydrogen peroxide solution R and again evaporate until dense, white fumes are produced and reduce to a volume of 2-3 mL. If the solution is still yellow in colour, repeat the addition of 5 mL of water R and 1 mL of strong hydrogen peroxide solution R until the solution is colourless. Cool, dilute cautiously with water R and rinse into a 50 mL colour comparison tube, ensuring that the total volume does not exceed 25 mL. Adjust the solution to pH 3.0-4.0, using short range pH indicator paper as external indicator, with concentrated ammonia R1 (dilute ammonia R1 may be used, if desired, as the specified range is approached), dilute with water R to 40 mL and mix. Add 2 mL of buffer solution pH 3.5 R. Mix and add to 1.2 mL of thioacetamide reagent R. Mix immediately. Dilute to 50 mL with water R and mix.

Reference solution (standard) Prepare at the same time and in the same manner as the test solution, using the prescribed volume of lead standard solution (10 ppm Pb) R.

Monitor solution Prepare as described for the test solution, adding to the substance to be examined the volume of lead standard solution (10 ppm Pb) R prescribed for the preparation of the reference solution.

Blank solution Prepare as described for the test solution, omitting the substance to be examined.

Examine the solutions vertically against a white background after 2 min.

System suitability

  • — the reference solution shows a brown colour compared to the blank solution,
  • — the monitor solution is at least as intense as the reference solution.

Result Any brown colour in the test solution is not more intense than that in the reference solution.

If the result is difficult to judge, filter the solutions through a suitable membrane filter (nominal pore size 0.45 µm). Carry out the filtration slowly and uniformly, applying moderate and constant pressure to the piston. Compare the spots on the filters obtained with the different solutions.

Method G

CAUTION: when using high-pressure digestion vessels the safety precautions and operating instructions given by the manufacturer must be followed. The digestion cycles have to be elaborated depending on the type of microwave oven to be used (for example, energy-controlled microwave ovens, temperature-controlled microwave ovens or high-pressure ovens). The cycle must conform to the manufacturer's instructions. The digestion cycle is suitable if a clear solution is obtained.

Test solution Place the prescribed amount of the substance to be examined (not more than 0.5 g) in a suitable, clean beaker. Add successively 2.7 mL of sulfuric acid R, 3.3 mL of nitric acid R and 2.0 mL of strong hydrogen peroxide solution R using a magnetic stirrer. Allow the substance to react with a reagent before adding the next one. Transfer the mixture to a dry high-pressure-resistant digestion vessel (fluoropolymer or quartz glass).

Reference solution (standard) Prepare as described for the test solution, using the prescribed volume of lead standard solution (10 ppm Pb) R instead of the substance to be examined.

Monitor solution Prepare as prescribed for the test solution, adding to the substance to be examined the volume of lead standard solution (10 ppm Pb) R prescribed for the preparation of the reference solution.

Blank solution Prepare as described for the test solution, omitting the substance to be examined.

Close the vessels and place in a laboratory microwave oven. Digest using a sequence of 2 separate suitable programmes. Design the programmes in several steps in order to control the reaction, monitoring pressure, temperature or energy depending on the type of microwave oven available. After the first programme allow the digestion vessels to cool before opening. Add to each vessel 2.0 mL of strong hydrogen peroxide solution R and digest using the second programme. After the second programme allow the digestion vessels to cool before opening. If necessary to obtain a clear solution, repeat the addition of strong hydrogen peroxide solution R and the second digestion programme.

Cool, dilute cautiously with water R and rinse into a flask, ensuring that the total volume does not exceed 25 mL.

Using short-range pH indicator paper as external indicator, adjust the solutions to pH 3.0-4.0 with concentrated ammonia R1 (dilute ammonia R1 may be used as the specified range is approached). To avoid heating of the solutions use an ice-bath and a magnetic stirrer. Dilute to 40 mL with water R and mix. Add 2 mL of buffer solution pH 3.5 R. Mix and add to 1.2 mL of thioacetamide reagent R. Mix immediately. Dilute to 50 mL with water R, mix and allow to stand for 2 min.

Filter the solutions through a suitable membrane filter (nominal pore size 0.45 µm). Carry out the filtration slowly and uniformly, applying moderate and constant pressure to the piston. Compare the spots on the filters obtained with the different solutions.

System suitability

  • — the spot obtained with the reference solution shows a brown colour compared to the spot obtained with the blank solution,
  • — the spot obtained with the monitor solution is at least as intense as the spot obtained with the reference solution.

Result The brown colour of the spot obtained with the test solution is not more intense than that of the spot obtained with the reference solution.

METHOD H

Test solution Dissolve the prescribed quantity of the substance to be examined in 20 mL of the solvent or solvent mixture prescribed.

Reference solution Dilute the prescribed volume of lead standard solution (10 ppm Pb) R to 20 mL with the solvent or solvent mixture prescribed.

Blank solution 20 mL of the solvent or solvent mixture prescribed.

To each solution, add 2 mL of buffer solution pH 3.5 R. Mix. (In some cases precipitation occurs, in which case the specific monograph would describe re-dissolution in a defined volume of a given solvent.) Add to 1.2 mL of thioacetamide reagent R. Mix immediately and allow to stand for 2 min. Filter the solutions through a suitable membrane filter (nominal pore size 0.45 µm). Compare the spots on the filters obtained with the different solutions.

System suitability The spot obtained with the reference solution shows a brownish-black colour compared to the spot obtained with the blank solution.

Result The brownish-black colour of the spot obtained with the test solution is not more intense than that of the spot obtained with the reference solution.

Limit Test for Iron
(Ph. Eur. method 2.4.9)

Dissolve the prescribed quantity of the substance to be examined in water R and dilute to 10 mL with the same solvent or use 10 mL of the prescribed solution. Add 2 mL of a 200 g/L solution of citric acid R and 0.1 mL of thioglycollic acid R. Mix, make alkaline with ammonia R and dilute to 20 mL with water R. Prepare a standard in the same manner, using 10 mL of iron standard solution (1 ppm Fe) R.

After 5 min, any pink colour in the test solution is not more intense than that in the standard.

Limit Test for Lead in Sugars
(Ph. Eur. method 2.4.10)

Determine the lead by atomic absorption spectrometry (2.2.23, Method II).

Test solution Dissolve 20.0 g of the substance to be examined in a mixture of equal volumes of dilute acetic acid R and water R and dilute to 100.0 mL with the same mixture of solvents. Add 2.0 mL of a clear 10 g/L solution of ammonium pyrrolidinedithiocarbamate R and 10.0 mL of methyl isobutyl ketone R and then shake for 30 s protected from bright light. Allow the layers to separate and use the methyl isobutyl ketone layer.

Reference solutions. Prepare 3 reference solutions in the same manner as the test solution but adding 0.5 mL, 1.0 mL and 1.5 mL respectively of lead standard solution (10 ppm Pb) R in addition to the 20.0 g of the substance to be examined.

Set the zero of the instrument using methyl isobutyl ketone R treated as described for the test solution without the substance to be examined. Measure the absorbance at 283.3 nm using a lead hollow-cathode lamp as source of radiation and an air-acetylene flame.

The substance to be examined contains not more than 0.5 ppm of lead, unless otherwise prescribed.

Limit Test for Magnesium
(Ph. Eur. method 2.4.6)

To 10 mL of the prescribed solution add 0.1 g of disodium tetraborate R. Adjust the solution, if necessary, to pH 8.8 to pH 9.2 using dilute hydrochloric acid R or dilute sodium hydroxide solution R. Shake with 2 quantities, each of 5 mL, of a 1 g/L solution of hydroxyquinoline R in chloroform R, for 1 min each time. Allow to stand. Separate and discard the organic layer. To the aqueous solution add 0.4 mL of butylamine R and 0.1 mL of triethanolamine R. Adjust the solution, if necessary, to pH 10.5 to pH 11.5. Add 4 mL of the solution of hydroxyquinoline in chloroform, shake for 1 min, allow to stand and separate. Use the lower layer for comparison. Prepare a standard in the same manner using a mixture of 1 mL of magnesium standard solution (10 ppm Mg) R and 9 mL of water R.

Any colour in the solution obtained from the substance to be examined is not more intense than that in the standard.

Limit Test for Magnesium and Alkaline-Earth Metals
(Ph. Eur. method 2.4.7)

To 200 mL of water R add 0.1 g of hydroxylamine hydrochloride R, 10 mL of ammonium chloride buffer solution pH 10.0 R, 1 mL of 0.1 M zinc sulfate and about 15 mg of mordant black 11 triturate R. Heat to about 40 °C. Titrate with 0.01 M sodium edetate until the violet colour changes to full blue. To the solution add the prescribed quantity of the substance to be examined dissolved in 100 mL of water R or use the prescribed solution. If the colour of the solution changes to violet, titrate with 0.01 M sodium edetate until the full blue colour is again obtained.

The volume of 0.01 M sodium edetate used in the second titration does not exceed the prescribed quantity.

Limit Test for Heavy Metals in Herbal Drugs and Fatty Oils
(Ph. Eur. method 2.4.27)

Examine by atomic absorption spectrometry (2.2.23).

CAUTION: when using closed high-pressure digestion vessels and microwave laboratory equipment, be familiar with the safety and operating instructions given by the manufacturer.

Apparatus

The apparatus typically consists of the following:

  • — as digestion flasks, polytetrafluoroethylene flasks with a volume of about 120 mL, fitted with an airtight closure, a valve to adjust the pressure inside the container and a polytetrafluoroethylene tube to allow release of gas,
  • — a system to make flasks airtight, using the same torsional force for each of them,
  • — a microwave oven, with a magnetron frequency of 2450 MHz, with a selectable output from 0 to 630 ± 70 W in 1 per cent increments, a programmable digital computer, a polytetrafluoroethylene-coated microwave cavity with a variable speed exhaust fan, a rotating turntable drive system and exhaust tubing to vent fumes,
  • — an atomic absorption spectrometer, equipped with hollow-cathode lamps as source of radiation and a deuterium lamp as background corrector; the system is fitted with:
  • (a) a graphite furnace as atomisation device for cadmium, copper, iron, lead, nickel and zinc.
  • (b) an automated continuous-flow hydride vapour generation system for arsenic and mercury.
Method

In case alternative apparatus is used, an adjustment of the instrument parameters may be necessary.

Clean all the glassware and laboratory equipment with a 10 g/L solution of nitric acid R before use.

Test solution In a digestion flask place the prescribed quantity of the substance to be examined (about 0.50 g of powdered drug (1400) (2.9.12) or 0.50 g of fatty oil). Add 6 mL of heavy metal-free nitric acid R and 4 mL of heavy metal-free hydrochloric acid R. Make the flask airtight.

Place the digestion flasks in the microwave oven. Carry out the digestion in 3 steps according to the following programme, used for 7 flasks each containing the test solution: 80 per cent power for 15 min, 100 per cent power for 5 min, 80 per cent power for 20 min.

At the end of the cycle allow the flasks to cool in air and to each add 4 mL of heavy metal-free sulfuric acid R. Repeat the digestion programme. After cooling in air, open each digestion flask and introduce the clear, colourless solution obtained into a 50 mL volumetric flask. Rinse each digestion flask with 2 quantities, each of 15 mL, of water R and collect the rinsings in the volumetric flask. Add 1.0 mL of a 10 g/L solution of magnesium nitrate R and 1.0 mL of a 100 g/L solution of ammonium dihydrogen phosphate R and dilute to 50.0 mL with water R.

Blank solution Mix 6 mL of heavy metal-free nitric acid R and 4 mL of heavy metal-free hydrochloric acid R in a digestion flask. Carry out the digestion in the same manner as for the test solution.

Cadmium, copper, iron, lead, nickel and zinc

Measure the content of cadmium, copper, iron, lead, nickel and zinc by the standard additions method (2.2.23, Method II), using reference solutions of each heavy metal and the instrumental parameters described in Table 2.4.27.-1.

The absorbance value of the blank solution is automatically subtracted from the value obtained with the test solution.

bp2012_v5_47_07_[appendix_vii]_revised_texts_ep7-3 2427heavymetalsinherbaldrugsandfattyoils_1_2012_70_tb.png


Arsenic and mercury

Measure the content of arsenic and mercury in comparison with the reference solutions of arsenic or mercury at a known concentration by direct calibration (2.2.23, Method I) using an automated continuous-flow hydride vapour generation system.

The absorbance value of the blank solution is automatically subtracted from the value obtained with the test solution.

Arsenic

Sample solution To 19.0 mL of the test solution or of the blank solution as prescribed above, add 1 mL of a 200 g/L solution of potassium iodide R. Allow the test solution to stand at room temperature for about 50 min or at 70 °C for about 4 min.

Acid reagent Heavy metal-free hydrochloric acid R.

Reducing reagent A 6 g/L solution of sodium tetrahydroborate R in a 5 g/L solution of sodium hydroxide R.

The instrumental parameters in Table 2.4.27.-2 may be used.

Mercury

Sample solution Test solution or blank solution, as prescribed above.

Acid reagent A 515 g/L solution of heavy metal-free hydrochloric acid R.

Reducing reagent A 10 g/L solution of stannous chloride R in dilute heavy metal-free hydrochloric acid R.

The instrumental parameters in Table 2.4.27.-2 may be used.

bp2012_v5_47_07_[appendix_vii]_revised_texts_ep7-3 2427heavymetalsinherbaldrugsandfattyoils_2_2012_70_tb.png


Limit Test for Nickel in Polyols
(Ph. Eur. method 2.4.15)

Determine the nickel by atomic absorption spectrometry (2.2.23, Method II).

Test solution Dissolve 20.0 g of the substance to be examined in a mixture of equal volumes of dilute acetic acid R and water R and dilute to 100.0 mL with the same mixture of solvents. Add 2.0 mL of a saturated solution of ammonium pyrrolidinedithiocarbamate R (about 10 g/L) and 10.0 mL of methyl isobutyl ketone R and then shake for 30 s protected from bright light. Allow the layers to separate and use the methyl isobutyl ketone layer.

Reference solutions. Prepare 3 reference solutions in the same manner as the test solution but adding 0.5 mL, 1.0 mL and 1.5 mL respectively of nickel standard solution (10 ppm Ni) R in addition to the 20.0 g of the substance to be examined.

Set the zero of the instrument using methyl isobutyl ketone R treated as described for preparation of the test solution omitting the substance to be examined. Measure the absorbance at 232.0 nm using a nickel hollow-cathode lamp as source of radiation and an air-acetylene flame.

The substance to be examined contains not more than 1 ppm of nickel, unless otherwise prescribed.

Limit Test for Phosphates
(Ph. Eur. method 2.4.11)

To 100 mL of the solution prepared and, if necessary, neutralised as prescribed add 4 mL of sulfomolybdic reagent R3. Shake and add 0.1 mL of stannous chloride solution R1. Prepare a standard in the same manner using 2 mL of phosphate standard solution (5 ppm PO4) R and 98 mL of water R. After 10 min, compare the colours using 20 mL of each solution.

Any colour in the test solution is not more intense than that in the standard.

Limit Test for Potassium
(Ph. Eur. method 2.4.12)

To 10 mL of the prescribed solution add 2 mL of a freshly prepared 10 g/L solution of sodium tetraphenylborate R. Prepare a standard in the same manner using a mixture of 5 mL of potassium standard solution (20 ppm K) R and 5 mL of water R.

After 5 min, any opalescence in the test solution is not more intense than that in the standard.

Limit Test for Sulfate
(Ph. Eur. method 2.4.13) 

All solutions used for this test must be prepared with distilled water R.

Add 3 mL of a 250 g/L solution of barium chloride R to 4.5 mL of sulfate standard solution (10 ppm SO4) R1. Shake and allow to stand for 1 min. To 2.5 mL of this suspension, add 15 mL of the solution to be examined and 0.5 mL of acetic acid R. Prepare a standard in the same manner using 15 mL of sulfate standard solution (10 ppm SO4) R instead of the solution to be examined.

After 5 min, any opalescence in the test solution is not more intense than that in the standard.