- British Pharmacopoeia Volume V
- Appendices
- Appendix XIX Containers
Appendix XIX B. Glass Containers for Pharmaceutical Use |
Glass containers for pharmaceutical use are glass articles intended to come into direct contact with pharmaceutical preparations.
Colourless glass is highly transparent in the visible spectrum.
Coloured glass is obtained by the addition of small amounts of metal oxides, chosen according to the desired spectral absorbance.
Neutral glass is a borosilicate glass containing significant amounts of boric oxide, aluminium oxide alkali and/or alkaline earth oxides. Due to its composition neutral glass has a high hydrolytic resistance and a high thermal shock resistance.
Soda-lime-silica glass is a silica glass containing alkali metal oxides, mainly sodium oxide and alkaline earth oxides, mainly calcium oxide. Due to its composition soda-lime-silica glass has only a moderate hydrolytic resistance.
The hydrolytic stability of glass containers for pharmaceutical use is expressed by the resistance to the release of soluble mineral substances into water under the prescribed conditions of contact between the inner surface of the container or glass grains and water. The hydrolytic resistance is evaluated by titrating released alkali. According to their hydrolytic resistance, glass containers are classified as follows:
- — Type I glass containers: neutral glass, with a high hydrolytic resistance due to the chemical composition of the glass itself;
- — Type II glass containers: usually of soda-lime-silica glass with a high hydrolytic resistance resulting from suitable treatment of the surface;
- — Type III glass containers: usually of soda-lime-silica glass with only moderate hydrolytic resistance.
The following italicised statements constitute general recommendations concerning the type of glass container that may be used for different types of pharmaceutical preparations. The manufacturer of a pharmaceutical product is responsible for ensuring the suitability of the chosen container.
Type I glass containers are suitable for most preparations whether or not for parenteral use.
Type II glass containers are suitable for most acidic and neutral, aqueous preparations whether or not for parenteral use.
Type III glass containers are in general suitable for non-aqueous preparations for parenteral use, for powders for parenteral use (except for freeze-dried preparations) and for preparations not for parenteral use.
Glass containers with a hydrolytic resistance higher than that recommended above for a particular type of preparation may generally also be used.
The container chosen for a given preparation shall be such that the glass material does not release substances in quantities sufficient to affect the stability of the preparation or to present a risk of toxicity. In justified cases, it may be necessary to have detailed information on the glass composition, so that the potential hazards can be assessed.
Preparations for parenteral administration are normally presented in colourless glass, but coloured glass may be used for substances known to be light-sensitive. Colourless or coloured glass is used for the other pharmaceutical preparations. It is recommended that all glass containers for liquid preparations and for powders for parenteral administration permit the visual inspection of the contents.
The inner surface of glass containers may be specially treated to improve hydrolytic resistance, to confer water-repellancy, etc. The outer surface may also be treated, for example to reduce friction and to improve resistance to abrasion. The outer treatment is such that it does not contaminate the inner surface of the container.
Except for type I glass containers, glass containers for pharmaceutical preparations are not to be re-used. Containers for human blood and blood components must not be re-used.
Glass containers for pharmaceutical use comply with the relevant test or tests for hydrolytic resistance. When glass containers have non-glass components, the tests apply only to the glass part of the container.
To define the quality of glass containers according to the intended use, one or more of the following tests are necessary.
Tests for hydrolytic resistance are carried out to define the type of glass (I, II or III) and to control its hydrolytic resistance.
In addition, containers for aqueous parenteral preparations are tested for arsenic release and coloured glass containers are tested for spectral transmission.
![bp2012_v5_47_19_[appendix_xix_b] 321glasscontainersforpharmaceuticaluse_1_2012_70_tb.png](bp_images/bp2012_v5_47_19_[appendix_xix_b]/321glasscontainersforpharmaceuticaluse_1_2012_70_tb.png)
The test is carried out by titration of the extract solutions obtained under the conditions described for tests A, B and C.
- — an autoclave capable of maintaining a temperature of 121 °C ± 1 °C, equipped with a thermometer or a calibrated thermocouple recorder, a pressure gauge, a vent cock and a tray, of sufficient capacity to accommodate above the water level the number of containers needed to carry out the test; clean the autoclave vessel and all ancillary equipment thoroughly before use with water R;
- — burettes with a suitable capacity;
- — one-mark volumetric flasks, with a capacity of 1000 mL;
- — pipettes and beakers;
- — conical flasks with a capacity of 100 mL and 250 mL;
- — a water-bath;
- — a metal foil (e.g. aluminium, stainless steel).
Flasks and beakers shall have been already used for the test or have been filled with water R and kept in an autoclave at 121 °C at least for 1 h before being used.
The filling volume is the volume of water to be filled in the container for the purpose of the test. For vials and bottles the filling volume is 90 per cent of the brimful capacity. For ampoules it is the volume up to the height of the shoulder.
Vials and bottles Select, at random, 6 containers from the sample lot, or 3 if their capacity exceeds 100 mL, and remove any dirt or debris. Weigh the empty containers with an accuracy of 0.1 g. Place the containers on a horizontal surface and fill them with distilled water R until about the rim edge, avoiding overflow and introduction of air bubbles. Adjust the liquid levels to the brimful line. Weigh the filled containers to obtain the mass of the water expressed to 2 decimal places for containers having a nominal volume less or equal to 30 mL, and expressed to 1 decimal place for containers having a nominal volume greater than 30 mL. Calculate the mean value of the brimful capacity in millilitres and multiply it by 0.9. This volume, expressed to 1 decimal place, is the filling volume for the particular container lot.
Ampoules Place at least 6 dry ampoules on a flat, horizontal surface and fill them with distilled water R from a burette, until the water reaches point A, where the body of the ampoule declines to the shoulder (see Figure 3.2.1.-1). Read the capacities (expressed to 2 decimal places) and calculate the mean value. This volume, expressed to 1 decimal place, is the filling volume for the particular ampoule lot. The filling volume may also be determined by weighing.
![bp2012_v5_47_19_[appendix_xix_b] 321glasscontainersforpharmaceuticaluse_2_2012_70_fig.png](bp_images/bp2012_v5_47_19_[appendix_xix_b]/321glasscontainersforpharmaceuticaluse_2_2012_70_fig.png)
The determination is carried out on unused containers. The volumes of the test liquid necessary for the final determination are indicated in Table 3.2.1.-2.
![bp2012_v5_47_19_[appendix_xix_b] 321glasscontainersforpharmaceuticaluse_3_2012_70_tb.png](bp_images/bp2012_v5_47_19_[appendix_xix_b]/321glasscontainersforpharmaceuticaluse_3_2012_70_tb.png)
Cleaning Remove any debris or dust. Shortly before the test, rinse each container carefully at least twice with water R and allow to stand. Immediately before testing empty the containers, rinse once with water R then with water R1 and allow to drain. Complete the cleaning procedure from the first rinsing in not less than 20 min and not more than 25 min.
Heat closed ampoules on a water-bath or in an air-oven at about 50 °C for approximately 2 min before opening; do not rinse before testing.
Filling and heating The containers are filled with water R1 up to the filling volume. Containers in the form of cartridges or prefilled syringes are closed in a suitable manner with material that does not interfere with the test. Each container including ampoules shall be loosely capped with an inert material such as a dish of neutral glass or aluminium foil previously rinsed with water R. Place the containers on the tray of the autoclave. Place the tray in the autoclave containing a quantity of water R such that the tray remains clear of the water. Close the autoclave and carry out the following operations:
- — heat the autoclave to 100 °C and allow the steam to issue from the vent cock for 10 min;
- — close the ventcock and raise the temperature from 100 °C to 121 °C at a rate of 1 °C per min;
- — maintain the temperature at 121 ± 1 °C for 60 ± 1 min;
- — lower the temperature from 121 °C to 100 °C at a rate of 0.5 °C per min, venting to prevent vacuum;
- — do not open the autoclave before it has cooled down to 95 °C;
- — remove the containers from the autoclave using normal precautions, place them in a water-bath at 80 °C, and run cold tap water, taking care that the water does not contact the loose foil caps to avoid contamination of the extraction solution;
- — cooling time does not exceed 30 min.
The extraction solutions are analysed by titration according to the method described below.
Method Carry out the titration within 1 h of removal of the containers from the autoclave. Combine the liquids obtained from the containers and mix. Introduce the prescribed volume (Table 3.2.1.-2) into a conical flask. Place the same volume of water R1 into a second similar flask as a blank. Add to each flask 0.05 mL of methyl red solution R for each 25 mL of liquid. Titrate the blank with 0.01 M hydrochloric acid. Titrate the test liquid with the same acid until the colour of the resulting solution is the same as that obtained for the blank. Subtract the value found for the blank titration from that found for the test liquid and express the results in millilitres of 0.01 M hydrochloric acid per 100 mL. Express titration values of less than 1.0 mL to 2 decimal places and titration values of more than or equal to 1.0 mL to 1 decimal place.
Limits The results, or the average of the results if more than one titration is performed, is not greater than the values stated in Table 3.2.1.-3.
![bp2012_v5_47_19_[appendix_xix_b] 321glasscontainersforpharmaceuticaluse_4_2012_70_tb.png](bp_images/bp2012_v5_47_19_[appendix_xix_b]/321glasscontainersforpharmaceuticaluse_4_2012_70_tb.png)
Check that the articles as received have been annealed to a commercially acceptable quality.
The test may be performed on the canes used for the manufacture of tubing glass containers or on the containers.
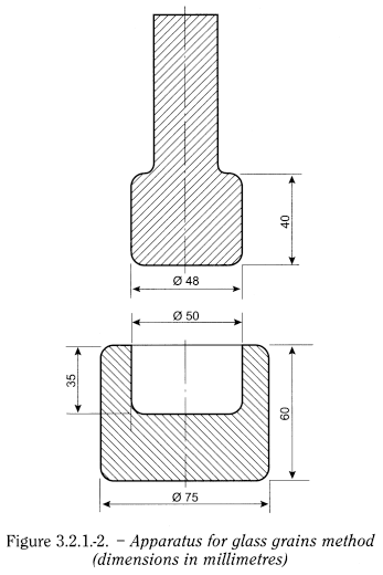
- — a mortar, pestle (see Figure 3.2.1.-2) and hammer in tempered, magnetic steel;
- — a set of 3 square-mesh sieves of stainless steel, mounted on frames of the same material and consisting of the following:
- (a) sieve no. 710;
- (b) sieve no. 425;
- (c) sieve no. 300;
- — a permanent magnet;
- — a metal foil (e.g. aluminium, stainless steel);
- — a hot-air oven, capable of maintaining a temperature of 140 ± 5 °C;
- — a balance, capable of weighing up to 500 g with an accuracy of 0.005 g;
- — a desiccator;
- — an ultrasonic bath.
Method Rinse the containers to be tested with water R and dry in the oven. Wrap at least 3 of the glass articles in clean paper and crush to produce 2 samples of about 100 g each in pieces not more than 30 mm across. Place 30-40 g of the pieces between 10-30 mm across taken from 1 of the samples in the mortar, insert the pestle and strike it heavily once only with the hammer. Transfer the contents of the mortar, to the coarsest sieve (a) of the set. Repeat the operation until all fragments have been transferred to the sieve. Shake the set of sieves a short time by hand and remove the glass which remains on sieves (a) and (b). Submit these portions to further fracture, repeating the operation until about 10 g of glass remains on sieve (a). Reject this portion and the portion which passes through sieve (c). Reassemble the set of sieves and shake for 5 min. Transfer to a weighing bottle those glass grains which passed through sieve (b) and are retained on sieve (c). Repeat the crushing and sieving procedure with the other glass sample and thus 2 samples of grains, each of which shall be in excess of 10 g, are obtained. Spread each sample on a piece of clean glazed paper and remove any iron particles by passing the magnet over them. Transfer each sample into a beaker for cleaning. Add to the grains in each beaker 30 mL of acetone R and scour the grains by suitable means, such as a rubber or plastic-coated glass rod. After scouring the grains, allow to settle and decant as much acetone as possible. Add another 30 mL of acetone R, swirl, decant again and add a new portion of acetone R.
![bp2012_v5_47_19_[appendix_xix_b] 321glasscontainersforpharmaceuticaluse_5_2012_70_fig.png](bp_images/bp2012_v5_47_19_[appendix_xix_b]/321glasscontainersforpharmaceuticaluse_5_2012_70_fig.png)
Fill the bath of the ultrasonic vessel with water at room temperature, then place the beaker in the rack and immerse it until the level of the acetone is at the level of the water; apply the ultrasound for 1 min. Swirl the beaker, allow to settle and decant the acetone as completely as possible and then repeat the ultrasonic cleaning operation. If a fine turbidity persists, repeat the ultrasonic cleaning and acetone washing until the solution remains clear. Swirl and decant the acetone then dry the grains, first by putting the beaker on a warm plate to remove excess acetone and then by heating at 140 °C for 20 min in the drying oven. Transfer the dried grains from each beaker into separate weighing bottles, insert the stoppers and cool in the desiccator. Weigh 10.00 g of the cleaned and dried grains into 2 separate conical flasks. Add 50 mL of water R1 into each by means of a pipette (test solutions). Pipette 50 mL of water R1 into a third conical flask which will serve as a blank. Distribute the grains evenly over the flat bases of the flasks by gentle shaking. Close the flasks with neutral glass dishes or aluminium foil rinsed with water R or with inverted beakers so that the inner surface of the beakers fit snugly down onto the top rims of the flasks. Place all 3 flasks in the rack in the autoclave containing the water at ambient temperature, and ensure that they are held above the level of the water in the vessel. Carry out the autoclaving procedure in a similar manner to that described under test A, but maintain the temperature of 121 ± 1 °C only for 30 ± 1 min. Do not open the autoclave until it has cooled to 95 °C. Remove the hot samples from the autoclave and cool the flasks in running tap water as soon as possible, avoiding thermal shock. To each of the 3 flasks add 0.05 mL of methyl red solution R. Titrate the blank solution immediately with 0.02 M hydrochloric acid then titrate the test solutions until the colour matches that obtained with the blank solution. Subtract the titration volume for the blank solution from that for the test solutions.
NOTE: where necessary to obtain a sharp end-point, the clear solution is to be decanted into a separate 250 mL flask. Rinse the grains with 3 quantities, each of 15 mL, of water R1 by swirling and add the washings to the main solution. Add 0.05 mL of the methyl red solution R. Titrate and calculate as described below. In this case also add 45 mL of water R1 and 0.05 mL of methyl red solution R to the blank solution.
Calculate the mean value of the results in millilitres of 0.02 M hydrochloric acid per gram of the sample and if required its equivalent in alkali extracted, calculated as micrograms of sodium oxide per gram of glass grains.
1 mL of 0.02 M hydrochloric acid is equivalent to 620 µg of sodium oxide.
Repeat the test if the highest and lowest observed values differ by more than 20 per cent.
Limits Type I glass containers require not more than 0.1 mL of 0.02 M hydrochloric acid per gram of glass, type II and type III glass containers require not more than 0.85 mL of 0.02 M hydrochloric acid per gram of glass.
When it is necessary to determine if a container has been surface-treated, and/or distinguish between type I and type II glass containers, test C is used in addition to test A. Alternatively, test A and B may be used. Test C may be carried out either on unused samples or on samples previously tested for test A.
Vials and bottles The volumes of test liquid required are shown in Table 3.2.1.-2.
Rinse the containers twice with water R and fill to the brimful point with a mixture of 1 volume of hydrofluoric acid R and 9 volumes of hydrochloric acid R and allow to stand for 10 min. Empty the containers and rinse carefully 5 times with water R. Immediately before the test, rinse once again with water R. Submit the containers thus prepared to the same autoclaving and determination procedure as described in test A for surface hydrolytic resistance. If the results are considerably higher than those obtained from the original surfaces (by about a factor of 5 to 10), the samples have been surface-treated.
Ampoules
NOTE: ampoules made from glass tubing are not normally subjected to internal surface treatment because their high chemical resistance is dependent upon the chemical composition of the glass as a material.
Apply the test method as described above for vials and bottles. If the ampoules are not surface-treated, the new values are slightly lower than those obtained in previous tests.
Distinction between Type I and Type II glass containers
The results obtained in Test C are compared to those obtained in Test A. The interpretation of the result is shown in Table 3.2.1.-4.
![bp2012_v5_47_19_[appendix_xix_b] 321glasscontainersforpharmaceuticaluse_6_2012_70_tb.png](bp_images/bp2012_v5_47_19_[appendix_xix_b]/321glasscontainersforpharmaceuticaluse_6_2012_70_tb.png)
The test applies to glass containers for aqueous parenteral preparations.
Hydride generation atomic absorption spectrometry (2.2.23, Method I).
Test solution Use the extract solution obtained from containers of types I and II, after autoclaving at 121 °C for 1 h as described under test A for surface hydrolytic resistance. Transfer 10.0 mL to a 100 mL volumetric flask. Add 10 mL of hydrochloric acid R and 5 mL of a 200 g/L solution of potassium iodide R. Heat on a water-bath at 80 °C for 20 min, allow to cool and dilute to 100.0 mL with water R.
Reference solutions Prepare the reference solutions using arsenic standard solution (1 ppm As) R. Add 10 mL of hydrochloric acid R and 5 mL of a 200 g/L solution of potassium iodide R. Heat on a water-bath at 80 °C for 20 min, allow to cool and dilute to 100.0 mL with water R. The concentration range of the reference solutions is typically 0.005 ppm to 0.015 ppm of As.
Acid reservoir Hydrochloric acid R.
Reducing reservoir Sodium tetrahydroborate reducing solution R.
Use a hydride generation device to introduce the test solution into the cuvette of an atomic absorption spectrometer. Establish and standardise instrumental operating conditions according to the manufacturer's instructions, optimise the uptake rate of the peristaltic pump tubings, then connect tubings to the acid reservoir, the reducing reservoir and the test solution.
Source Hollow-cathode lamp.
Wavelength 193.7 nm.
Atomisation device Air-acetylene flame.
Limit Maximum 0.1 ppm of As.
Equipment A UV-VIS spectrophotometer, equipped with a photodiode detector or equipped with a photomultiplier tube coupled with an integrating sphere.
Preparation of the specimen Break the glass container or cut it with a circular saw fitted with a wet abrasive wheel, such as a carborundum or a bonded-diamond wheel. Select sections representative of the wall thickness and trim them as suitable for mounting in a spectrophotometer. If the specimen is too small to cover the opening in the specimen holder, mask the uncovered portion with opaque paper or tape, provided that the length of the specimen is greater than that of the slit. Before placing in the holder, wash, dry and wipe the specimen with lens tissue. Mount the specimen with the aid of wax, or by other convenient means, taking care to avoid leaving fingerprints or other marks.
Method Place the specimen in the spectrophotometer with its cylindrical axis parallel to the slit and in such a way that the light beam is perpendicular to the surface of the section and that the losses due to reflection are at a minimum. Measure the transmission of the specimen with reference to air in the spectral region of 290-450 nm, continuously or at intervals of 20 nm.
Limits The observed spectral transmission for coloured glass containers for preparations that are not for parenteral administration does not exceed 10 per cent at any wavelength in the range of 290 nm to 450 nm, irrespective of the type and the capacity of the glass container. The observed spectral transmission in coloured glass containers for parenteral preparations does not exceed the limits given in Table 3.2.1.-5.
![bp2012_v5_47_19_[appendix_xix_b] 321glasscontainersforpharmaceuticaluse_7_2012_70_tb.png](bp_images/bp2012_v5_47_19_[appendix_xix_b]/321glasscontainersforpharmaceuticaluse_7_2012_70_tb.png)
The surface hydrolytic resistance of glass of types I and II may be determined by analysis of the leaching solution by flame atomic absorption spectrometry. A number of elements that, when present as oxides in glass, contribute to the alkalinity of the solution, are determined and used to express an alkali equivalent. The spectrometric method has the advantage of allowing the use of a much smaller sample of extract so that it can be applied to small individual containers. This enables an evaluation of the uniformity of the containers in a given batch where this is critical. The results of this measurement are not equivalent to those of titrimetry and the 2 methods cannot be considered interchangeable. A correlation between the 2 is dependent on the type of glass and the size and shape of the container. The titrimetric method is the reference method of the Pharmacopoeia; the spectrometric method may be used in justified and authorised cases.
A method suitable for this type of analysis is shown below.
The determination is carried out on unused containers. The number of containers to be examined is indicated in Table 3.2.1.-6.
![bp2012_v5_47_19_[appendix_xix_b] 321glasscontainersforpharmaceuticaluse_8_2012_70_tb.png](bp_images/bp2012_v5_47_19_[appendix_xix_b]/321glasscontainersforpharmaceuticaluse_8_2012_70_tb.png)
Instructions on determination of the filling volume, cleaning of the containers, filling and heating are given above under Hydrolytic resistance and Test A. Hydrolytic resistance of the inner surfaces of glass containers.
Spectrochemical buffer solution Dissolve 80 g of caesium chloride R in about 300 mL of water R1, add 10 mL of 6 M hydrochloric acid R and transfer to a 1000 mL volumetric flask. Dilute to volume with water R1 and mix.
Stock solutions:
- — sodium oxide, c(Na2O) = 1 mg/mL;
- — potassium oxide, c(K2O) = 1 mg/mL;
- — calcium oxide, c(CaO) = 1 mg/mL.
Commercially available stock solutions may also be used.
Standard solutions Prepare standard solutions by diluting the stock solutions with water R1 to obtain concentrations suitable for establishing the reference solutions in appropriate manner, e.g. with concentrations of 20 µg/mL of sodium oxide, potassium oxide and calcium oxide, respectively. Commercially available standard solutions may also be used.
Reference solutions Prepare the reference solutions for establishing the calibration graph (set of calibration solutions) by diluting suitable concentrated standard solutions with water R1, so that the normal working ranges of the specific elements are covered, taking into account the instrument used for the measurement. Typical concentration ranges of the reference solutions are:
- — for determination by atomic emission spectrometry of sodium oxide and potassium oxide: up to 10 µg/mL;
- — for determination by atomic absorption spectrometry of sodium oxide and potassium oxide: up to 3 µg/mL;
- — for determination by atomic absorption spectrometry of calcium oxide: up to 7 µg/mL.
- — Use reference solutions containing 5 per cent V/V of the spectrochemical buffer solution.
Carry out preliminary measurements of the potassium oxide and calcium oxide concentrations on one of the extraction solutions. If, for one container type, the concentration of potassium oxide is less than 0.2 µg/mL and if the concentration of calcium oxide is less than 0.1 µg/mL, the remaining extraction solutions of this container type need not be analysed for these ions. Aspirate the extraction solution from each sample directly into the flame of the atomic absorption or atomic emission instrument and determine the approximate concentrations of sodium oxide (and potassium oxide and calcium oxide, if present) by reference to calibration graphs produced from the reference solutions of suitable concentration.
If dilution is unnecessary add to each container a volume of the spectrochemical buffer solution equivalent to 5 per cent of the filling volume, mix well and determine sodium oxide, calcium oxide and potassium oxide, if present, by reference to calibration graphs. For the determination of the calcium oxide concentration by flame atomic spectrometry, the nitrous oxide/acetylene flame shall be used.
If dilution is necessary, determine sodium oxide, calcium oxide and potassium oxide, if present, following the procedures as described above. The measuring solutions shall contain 5 per cent V/V of the spectrochemical buffer solution. Concentration values less than 1.0 µg/mL are expressed to 2 decimal places, values greater than or equal to 1.0 µg/mL to 1 decimal place. Correct the result for the buffer addition and for dilution, if any.
Calculate the mean value of the concentration of individual oxides found in each of the samples tested, in micrograms of the oxide per millilitre of the extraction solution and calculate the sum of the individual oxides, expressed as micrograms of sodium oxide per millilitre of the extraction solution using the following mass conversion factors:
- — 1 µg of potassium oxide corresponds to 0.658 µg of sodium oxide;
- — 1 µg of calcium oxide corresponds to 1.105 µg of sodium oxide.
Limits For each container tested, the result is not greater than the value given in Table 3.2.1.-7.
![bp2012_v5_47_19_[appendix_xix_b] 321glasscontainersforpharmaceuticaluse_9_2012_70_tb.png](bp_images/bp2012_v5_47_19_[appendix_xix_b]/321glasscontainersforpharmaceuticaluse_9_2012_70_tb.png)